Описание плиты ПТ 75.150.12-6
Плита железобетонная (ПТ 75.150.12-6) Серия 3.006.1-8 применяется для устройства покрытий проездов, площадок и тротуаров в промышленных и гражданских зданиях. Изделие изготавливается из высокопрочного бетона с армированием стальной арматурой, что обеспечивает её прочность, устойчивость к нагрузкам и долговечность.
Применение плиты ПТ 75.150.12-6
Плита ПТ 75.150.12-6 используется как элемент для устройства покрытий проездов, площадок, пешеходных дорожек и других конструкций, требующих надежной поддержки. Она служит важной частью системы, обеспечивающей равномерное распределение нагрузки, защиту от внешних воздействий и долговечность конструкций. Для монтажа могут применяться дополнительные элементы: раствор, закладные детали и другие комплектующие.
Типы плит
Железобетонные плиты подразделяются на несколько типов в зависимости от размеров и назначения:
- ПТ: плита тротуарная;
- ПД: плита дорожная;
- ПАГ: плита аэродромная гладкая;
- ПР: плита ребристая.
Размеры зависят от типа: длина 740–6000 мм, ширина 1480–3000 мм, высота 120–220 мм.
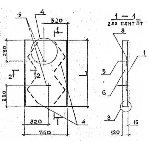
Основные параметры, размеры и характеристики
- Длина L, мм: 740
- Ширина b, мм: 1480
- Высота h, мм: 120
- Масса, тонн: 0,325
- Объем бетона, м³: 0,13
- Класс бетона: B15 (марка М200)
- Геометрический объем, м³: 0,131
Закладные детали
- Сетка С 2-34: основной элемент армирования, обеспечивающий прочность конструкции;
- Сетка С 4-1: дополнительный элемент армирования для усиления конструкции;
- Петля П7: элемент для удобства монтажа и перемещения изделия.
Дополнительные характеристики
- Марка по морозостойкости: F200–F300
- Марка по водонепроницаемости: W6–W8
- Технология изготовления: вибропрессование или формование с использованием высокопрочного бетона.
Нормы загрузки
- Норма загрузки в автотранспорт 20 т, шт: 61
Документы
- Нормативный документ: Серия 3.006.1-8
Расшифровка маркировки ПТ 75.150.12-6
Маркировка "ПТ 75.150.12-6" содержит следующую информацию:
- ПТ – плита тротуарная;
- 75 – длина плиты в дециметрах (740 мм);
- 150 – ширина плиты в дециметрах (1480 мм);
- 12 – высота плиты в сантиметрах (120 мм);
- 6 – порядковый номер конструктивного исполнения или типоразмер.
Условия транспортировки и хранения
Плиты ПТ 75.150.12-6 перевозятся автомобильным или железнодорожным транспортом с использованием специальных захватных устройств (строп). Хранение осуществляется на ровных площадках с твердым покрытием. Плиты устанавливаются горизонтально в штабель высотой не более 2,5 м. Для предотвращения повреждений между изделиями устанавливаются деревянные прокладки.
Контроль качества плиты ПТ 75.150.12-6
Каждая плита ПТ 75.150.12-6 проходит многоступенчатый контроль качества в соответствии с Серия 3.006.1-8. Проверяются:
- прочность бетона (не ниже класса B15);
- соответствие геометрических размеров проектным данным;
- качество армирования (наличие арматурного каркаса, толщина защитного слоя бетона);
- морозостойкость и водонепроницаемость бетона;
- точность расположения закладных элементов;
- отсутствие трещин, сколов и других дефектов.
Заключение
Плита ПТ 75.150.12-6 – надежный и долговечный элемент для устройства покрытий проездов, площадок и тротуаров. Благодаря строгому соблюдению требований Серия 3.006.1-8 и использованию качественных материалов, она обеспечивает прочность, устойчивость и долговечность конструкций. Для заказа качественных железобетонных плит обращайтесь к производителям с сертификатами соответствия и опытом работы в сфере ЖБИ.
Смотрите также:
| Варианты написания товара |
|---|
| Плита ПТ 75.150.12-6 |
| ПТ 75.150.12-6 плита |
| Плита ПТ75.150.12-6 |
| ПТ75.150.12-6 плита |
| ПТ 75.150.12-6 |
| ПТ75.150.12-6 |
| Плита ПТ 75.150.12-6 Серия 3.006.1-8 |
| ПТ 75.150.12-6 Серия 3.006.1-8 |
| ПТ75.150.12-6 Серия 3.006.1-8 |
|
ГОСТ/Серия
|
Серия 3.006.1-8 |
|
Длина, мм
|
740 |
|
Ширина, мм
|
1480 |
|
Высота, мм
|
120 |
|
Масса, тонн
|
0.325 |
|
Объем бетона, куб.м
|
0.13 |
|
Класс бетона
|
В15 |
|
Геометрический объем, м.куб
|
0.131 |
|
Закладная 1
|
Сетка С 2-34 |
|
Закладная 2
|
Сетка С 4-1 |
|
Закладная 3
|
Петля П7 |
Как купить
Процесс покупки железобетонных изделий у нас прост и удобен. Следуйте этим шагам:
- Выбор продукции: Ознакомьтесь с нашим ассортиментом и выберите необходимые железобетонные изделия.
- Консультация: Свяжитесь с нашим менеджером для получения консультации по выбору продукции и уточнения всех деталей. Вы можете позвонить нам или написать на электронную почту.
- Оформление заказа: После согласования всех деталей оформите заказ. Менеджер поможет вам заполнить все необходимые документы.
- Согласование доставки: После оформления заказа наш менеджер свяжется с вами для согласования условий и сроков доставки.
- Оплата: Выберите удобный способ оплаты. Мы предлагаем несколько вариантов, включая безналичный расчет.
- Получение товара: После выполнения всех условий заказа, вы получите железобетонные изделия в назначенное время и по согласованному адресу. При получении подпишите акт приема-передачи.
Если у вас возникли вопросы на любом этапе покупки, не стесняйтесь обращаться к нашим менеджерам!
Оплата
Мы принимаем только безналичные платежи и работаем исключительно с юридическими лицами. Пожалуйста, ознакомьтесь с условиями оплаты ниже:
- Способ оплаты: Все расчеты производятся безналичным путем. Мы не принимаем наличные.
- Счет на оплату: После оформления заказа вам будет выставлен счет, который необходимо оплатить в срок, указанный в документе.
- Реквизиты: Все необходимые банковские реквизиты будут предоставлены в счете. Убедитесь, что все данные указаны правильно для успешного перевода.
- Подтверждение оплаты: После осуществления платежа отправьте нам подтверждение, чтобы мы могли оперативно обработать ваш заказ.
- Получение документов: После полной оплаты вы получите все необходимые документы, включая акт выполненных работ, товарные накладные и сертификаты на продукцию.
Мы работаем с НДС и предоставляем все необходимые сертификаты и документы. Все гарантии будут прописаны в договоре, что обеспечивает прозрачность и надежность сотрудничества.
Если у вас есть вопросы по поводу процесса оплаты, не стесняйтесь обращаться к нашим менеджерам за помощью!
Наша оперативность — ваше удобство. Мы гарантируем своевременную доставку железобетонных изделий, что является ключевым фактором для успешной реализации ваших строительных проектов. Доставка осуществляется прямо к вашему объекту с учетом всех стандартов качества.
Основные условия доставки:
• Выбор тарифа: Вы можете выбрать способ расчета стоимости доставки — почасовой или по зонам.
• Согласование: Менеджер свяжется с вами для уточнения деталей после оформления заказа.
• Время на погрузку: Комплектация товара занимает от 1 до 3 дней в зависимости от объема.
• Акт приема-передачи: Продукция передается по акту приема-передачи.
Тарифы на доставку:
Цены варьируются в зависимости от расстояния и региона. Все тарифы включают НДС. При неблагоприятных погодных условиях возможны небольшие изменения в стоимости.
География доставки:
Мы работаем по всей территории РФ и имеем 12 офисов и производств, чтобы обеспечить удобные условия для доставки.
Для точного расчета стоимости доставки обращайтесь к нашим менеджерам!

