Описание фундамента Ф3-А
Фундамент железобетонный (Ф3-А) Серия 3.407-115 применяется для устройства опорных конструкций под оборудование, колонны и другие строительные элементы в промышленных и гражданских зданиях. Изделие изготавливается из высокопрочного бетона класса B30 с армированием стальной арматурой, что обеспечивает его прочность, устойчивость к нагрузкам и долговечность.
Применение фундамента Ф3-А
Фундамент Ф3-А используется как основание для установки оборудования, колонн и других конструктивных элементов в зданиях различного назначения: промышленных цехах, складских помещениях, административных зданиях и других объектах. Он служит важной частью системы, обеспечивающей надёжность, безопасность и удобство эксплуатации. Для монтажа могут применяться дополнительные элементы: раствор, закладные детали и другие комплектующие.
Типы железобетонных фундаментов
Железобетонные фундаменты подразделяются на несколько типов в зависимости от размеров и назначения:
- Ф: фундамент под колонны;
- ФК: фундамент под колонны каркаса;
- ФБС: фундамент блоки сплошные;
- ФЛ: фундамент ленточный.
Размеры зависят от типа: длина 2100–6000 мм, ширина 2100–3000 мм, высота 3400–6000 мм.
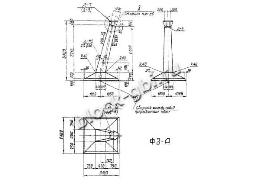
Основные параметры, размеры и характеристики
- Длина L, мм: 2100
- Ширина b, мм: 2100
- Высота h, мм: 3400
- Масса, тонн: 4.3
- Объем бетона, м³: 1.7
- Класс бетона: В30 (марка М400)
- Геометрический объем, м³: 556
Дополнительные характеристики
- Марка по морозостойкости: F200–F300
- Марка по водонепроницаемости: W6–W8
- Технология изготовления: вибропрессование или формование с использованием высокопрочного бетона.
Нормы загрузки
- Норма загрузки в автотранспорт 20 т, шт: 4
Документы
- Нормативный документ: Серия 3.407-115
Расшифровка маркировки Ф3-А
Маркировка "Ф3-А" содержит следующую информацию:
- Ф – фундамент;
- 3 – условный номер модели или типоразмера;
- А – наличие дополнительных технологических элементов (например, закладных деталей).
Условия транспортировки и хранения
Фундаменты Ф3-А перевозятся автомобильным или железнодорожным транспортом с использованием специальных захватных устройств (строп). Хранение осуществляется на ровных площадках с твердым покрытием. Фундаменты устанавливаются горизонтально в штабель высотой не более 2,5 м. Для предотвращения повреждений между изделиями устанавливаются деревянные прокладки.
Контроль качества фундамента Ф3-А
Каждый фундамент Ф3-А проходит многоступенчатый контроль качества в соответствии с Серия 3.407-115. Проверяются:
- прочность бетона (не ниже класса B30);
- соответствие геометрических размеров проектным данным;
- качество армирования (наличие арматурного каркаса, толщина защитного слоя бетона);
- морозостойкость и водонепроницаемость бетона;
- точность расположения закладных элементов;
- отсутствие трещин, сколов и других дефектов.
Заключение
Фундамент Ф3-А – надежный и долговечный элемент для устройства опорных конструкций под оборудование и колонны. Благодаря строгому соблюдению требований Серия 3.407-115 и использованию качественных материалов, он обеспечивает прочность, устойчивость и долговечность конструкций. Для заказа качественных железобетонных фундаментов обращайтесь к производителям с сертификатами соответствия и опытом работы в сфере ЖБИ, например, компании ГК "БЛОК".
Смотрите также:
| Варианты написания товара |
|---|
| Фундамент Ф3-А |
| Ф3-А фундамент |
| Фундамент Ф3А |
| Ф3А фундамент |
| Ф3-А |
| Ф3А |
| Фундамент Ф3-А Серия 3.407-115 |
| Ф3-А Серия 3.407-115 |
| Ф3А Серия 3.407-115 |
|
ГОСТ/Серия
|
Серия 3 407-115 |
|
Длина, мм
|
2100 |
|
Ширина, мм
|
2100 |
|
Высота, мм
|
3400 |
|
Масса, тонн
|
4.3 |
|
Объем бетона, куб.м
|
1.7 |
|
Класс бетона
|
В30 |
Как купить
Процесс покупки железобетонных изделий у нас прост и удобен. Следуйте этим шагам:
- Выбор продукции: Ознакомьтесь с нашим ассортиментом и выберите необходимые железобетонные изделия.
- Консультация: Свяжитесь с нашим менеджером для получения консультации по выбору продукции и уточнения всех деталей. Вы можете позвонить нам или написать на электронную почту.
- Оформление заказа: После согласования всех деталей оформите заказ. Менеджер поможет вам заполнить все необходимые документы.
- Согласование доставки: После оформления заказа наш менеджер свяжется с вами для согласования условий и сроков доставки.
- Оплата: Выберите удобный способ оплаты. Мы предлагаем несколько вариантов, включая безналичный расчет.
- Получение товара: После выполнения всех условий заказа, вы получите железобетонные изделия в назначенное время и по согласованному адресу. При получении подпишите акт приема-передачи.
Если у вас возникли вопросы на любом этапе покупки, не стесняйтесь обращаться к нашим менеджерам!
Оплата
Мы принимаем только безналичные платежи и работаем исключительно с юридическими лицами. Пожалуйста, ознакомьтесь с условиями оплаты ниже:
- Способ оплаты: Все расчеты производятся безналичным путем. Мы не принимаем наличные.
- Счет на оплату: После оформления заказа вам будет выставлен счет, который необходимо оплатить в срок, указанный в документе.
- Реквизиты: Все необходимые банковские реквизиты будут предоставлены в счете. Убедитесь, что все данные указаны правильно для успешного перевода.
- Подтверждение оплаты: После осуществления платежа отправьте нам подтверждение, чтобы мы могли оперативно обработать ваш заказ.
- Получение документов: После полной оплаты вы получите все необходимые документы, включая акт выполненных работ, товарные накладные и сертификаты на продукцию.
Мы работаем с НДС и предоставляем все необходимые сертификаты и документы. Все гарантии будут прописаны в договоре, что обеспечивает прозрачность и надежность сотрудничества.
Если у вас есть вопросы по поводу процесса оплаты, не стесняйтесь обращаться к нашим менеджерам за помощью!
Наша оперативность — ваше удобство. Мы гарантируем своевременную доставку железобетонных изделий, что является ключевым фактором для успешной реализации ваших строительных проектов. Доставка осуществляется прямо к вашему объекту с учетом всех стандартов качества.
Основные условия доставки:
• Выбор тарифа: Вы можете выбрать способ расчета стоимости доставки — почасовой или по зонам.
• Согласование: Менеджер свяжется с вами для уточнения деталей после оформления заказа.
• Время на погрузку: Комплектация товара занимает от 1 до 3 дней в зависимости от объема.
• Акт приема-передачи: Продукция передается по акту приема-передачи.
Тарифы на доставку:
Цены варьируются в зависимости от расстояния и региона. Все тарифы включают НДС. При неблагоприятных погодных условиях возможны небольшие изменения в стоимости.
География доставки:
Мы работаем по всей территории РФ и имеем 12 офисов и производств, чтобы обеспечить удобные условия для доставки.
Для точного расчета стоимости доставки обращайтесь к нашим менеджерам!

